在20万级SUV中,不少人选车都会在探岳和上汽大通D90Pro之间纠结,到底这两款车该怎么选?众车网为您综合了两车的参配、优惠信息、口碑评分等多个方面信息,力求...
在30万级SUV中,不少人选车都会在楼兰和探岳之间纠结,到底这两款车该怎么选?众车网为您综合了两车的参配、销量、优惠信息、口碑评分等多个方面信息,力求通过全方位...
在20万级SUV中,不少人选车都会在探岳和途观X之间纠结,到底这两款车该怎么选?众车网为您综合了两车的参配、销量、优惠信息等多个方面信息,力求通过全方位对比为您...
日前,据众车网汽车行业数据监测显示,探岳在8月份的销量为8412辆,在一汽-大众当月总销量占比为14.17%,在同类SUV销量排名中位列第23名,在德系产品销量...
随着国内紧凑型SUV市场竞争日渐加剧,为了在市场占据一席之地,各大车企也推出了不少优质的产品。今天为大家推荐的是探岳,这款车在日常使用中到底有着怎样的表现?接下...
日前,据众车网汽车行业数据监测显示,探岳在7月份的销量为8982辆,在一汽-大众当月总销量占比为15.87%,在同类SUV销量排名中位列第22名,在德系产品销量...
在20万级SUV中,不少人选车都会在探岳和BEIJING-X7新能源之间纠结,到底这两款车该怎么选?众车网为您综合了两车的参配、优惠信息等多个方面信息,力求通过...
日前,据众车网汽车行业数据监测显示,7月全国销量为1651846台,其中巴中市销量为1224台,在全国汽车销量占比为0.07%,在全国所有城市销量排名中位列第2...
在20万级SUV中,不少人选车都会在探岳和WEYVV7GT之间纠结,到底这两款车该怎么选?众车网为您综合了两车的参配、优惠信息、口碑评分等多个方面信息,力求通过...
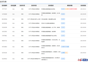
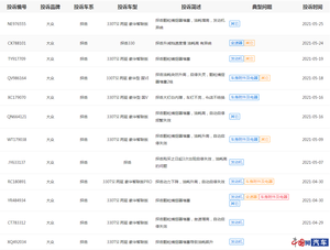
中国网汽车8月23日讯(记者王忆东)此前,中国网汽车质量投诉平台(https://315.auto.china.com.cn) 因接到大量一汽-大众探岳车主...
在20万级SUV中,不少人选车都会在胜达和探岳之间纠结,到底这两款车该怎么选?众车网为您综合了两车的参配、销量、优惠信息、口碑评分等多个方面信息,力求通过全方位...
日前,据众车网汽车行业数据监测显示,探岳在6月份的销量为7487辆,在一汽-大众当月总销量占比为9.05%,在同类SUV销量排名中位列第29名,在德系产品销量排...
在20万级SUV中,不少人选车都会在起亚KX7和探岳之间纠结,到底这两款车该怎么选?众车网为您综合了两车的参配、销量、优惠信息、口碑评分等多个方面信息,力求通过...
日前,据众车网汽车行业数据监测显示,探岳在5月份的销量为9643辆,在一汽-大众当月总销量占比为10.36%,在同类SUV销量排名中位列第18名,在德系产品销量...
中国网汽车7月7日讯(记者王忆东)有关近段时间以来,一汽-大众探岳颗粒捕捉器堵塞的大批量投诉问题,目前仍在持续发酵中,中国网汽车质量投诉平台(我要投诉:ht...
在20万级SUV中,不少人选车都会在汉兰达和探岳之间纠结,到底这两款车该怎么选?众车网为您综合了两车的参配、销量、优惠信息、口碑评分等
日前,据众车网汽车行业数据监测显示,探岳在4月份的销量为9511辆,在一汽-大众当月总销量占比为10.36%,在同类SUV销量排名中位列第16名,在德系产品销量...
中国网汽车5月27日讯(记者王芳)日前,中国网汽车质量投诉平台(我要投诉:http://315.auto.china.com.cn/)接到不少来自一汽-大众...
中国网汽车5月24日讯(记者王芳)虽然自动启停功能是车内较为不起眼的配置,但如果新车频繁出现自动启停失效的情况,还是会在行车过程中,造成一定的安全隐患。近日...
近日,大众汽车旗下新款探岳已正式上市,新车为年度改款车型,官方指导价18.69-26.49万元,共推出6款车型。新款探岳除了在外观细节
18.59-26.39万
18.69-25.39万
26.88-34.88万
23.98-32.98万
29.50-40.50万
19.87-26.08万